The original design; The concept; Up close with the rockers; Just a bit of welding left to do on the cover; After all the welding is done, there is just a few details to button up and it’s time to start thinking bout swapping out the ‘ol Sherman flathead
Improved Akron-Hed sanity check
Forum rules
If you need help logging in, or have question about how something works, use the Support forum located here Support Forum
Complete set of Forum Rules Forum Rules
If you need help logging in, or have question about how something works, use the Support forum located here Support Forum
Complete set of Forum Rules Forum Rules
-
Topic author - Posts: 1617
- Joined: Thu Jan 10, 2019 3:54 pm
- First Name: Kevin
- Last Name: Pharis
- Location: Sacramento CA
- Contact:
Improved Akron-Hed sanity check
This is not the first sanity check for this project... and it won’t be the last. So far every sanity check has proven that sanity has little to do with this project! 
The original design; The concept; Up close with the rockers; Just a bit of welding left to do on the cover; After all the welding is done, there is just a few details to button up and it’s time to start thinking bout swapping out the ‘ol Sherman flathead
The original design; The concept; Up close with the rockers; Just a bit of welding left to do on the cover; After all the welding is done, there is just a few details to button up and it’s time to start thinking bout swapping out the ‘ol Sherman flathead
-
- Posts: 203
- Joined: Sun Jan 13, 2019 6:17 pm
- First Name: Pete
- Last Name: Eastwood
- Location: Southern Califiornia
Re: Improved Akron-Hed sanity check
I like what I see .
Interesting valve layout, side to side , rather than front to back like all the other overheads ! .
It will be interesting to see how it performs .
Interesting valve layout, side to side , rather than front to back like all the other overheads ! .
It will be interesting to see how it performs .
-
Topic author - Posts: 1617
- Joined: Thu Jan 10, 2019 3:54 pm
- First Name: Kevin
- Last Name: Pharis
- Location: Sacramento CA
- Contact:
Re: Improved Akron-Hed sanity check
After a couple hundred hours designing and manufacturing the rocker system... all I can do is hope it’ll perform! So far everything looks promising as the head has many favorable design characteristics... 2 in, 4 out, cross flow, valves in line with the ports, and spark plug near the exhaust valve. The ports are relatively small when compared to other performance heads... but I think they’ll be plenty big enough to produce similar (or better) performance as the other 2 intake port overheads
Too late to give up now... I hope to have the head runnin later this year!!! That is... assuming I survive the pandemic...!?
Too late to give up now... I hope to have the head runnin later this year!!! That is... assuming I survive the pandemic...!?
-
- Posts: 1651
- Joined: Sun Jan 06, 2019 11:46 am
- First Name: Dennis
- Last Name: Seth
- * REQUIRED* Type and Year of Model Ts owned: 1922 Coupe 1927 Touring
- Location: Jefferson Ohio
Re: Improved Akron-Hed sanity check
That looks great but I don't know why you went to all the trouble when the catalog has them for $67.50!



1922 Coupe & 1927 Touring
-
Topic author - Posts: 1617
- Joined: Thu Jan 10, 2019 3:54 pm
- First Name: Kevin
- Last Name: Pharis
- Location: Sacramento CA
- Contact:
Re: Improved Akron-Hed sanity check
Turns out that they only take silver backed bank notes... and the heads apparently have been discontinued for a few years!?


-
- Posts: 1070
- Joined: Sun Jan 06, 2019 12:18 pm
- First Name: John
- Last Name: Warren
- * REQUIRED* Type and Year of Model Ts owned: 14 Roadster, 25 Pickup , 26 Canadian Touring , and a 24-28 TA race car
- Location: Henderson, Nevada
Re: Improved Akron-Hed sanity check
Nice Work ! Thanks for sharing
24-28 TA race car, 26 Canadian touring, 25 Roadster pickup, 14 Roadster, and 11AB Maxwell runabout
Keep it simple and keep a good junk pile if you want to invent something
Keep it simple and keep a good junk pile if you want to invent something

-
- Posts: 872
- Joined: Sun Jan 06, 2019 11:15 am
- First Name: Andrew
- Last Name: Clary
- * REQUIRED* Type and Year of Model Ts owned: 1914 Runabout 1926 Coupe. Mercury Speedster #1249
- Location: Usa
Re: Improved Akron-Hed sanity check
I've been watching your progress and I think sanity may have left the room quite some time ago;). Did you figure what the compression would be? While the ports are a little odd shaped, it should certainly flow better than T ports.
Andy
Andy
-
Topic author - Posts: 1617
- Joined: Thu Jan 10, 2019 3:54 pm
- First Name: Kevin
- Last Name: Pharis
- Location: Sacramento CA
- Contact:
Re: Improved Akron-Hed sanity check
The Akron has a typical flat bottom combustion chamber just like all the other pushrod heads... and it measures a cavernous 1-5/16” deep. With a stock crank and pistons, I imagine the compression ratio would be somewhere around 3:1. And with the A crank and .060” overbore probably a staggering 3.1:1!!!
I’ve got a new set of pistons on the to-do list, lookin to maintain the 7.5:1 ratio I currently run with the flathead. Also on the list is a low lift cam to compliment the 1.5:1 rocker ratio. With the 1.750” valves, I’d like to run better than .300” lift at the valve. The plan is to work out a deal with a fella who has a flow bench. Not lookin to alter the head any, just lookin to figure the best lift for the design
I’ve got a new set of pistons on the to-do list, lookin to maintain the 7.5:1 ratio I currently run with the flathead. Also on the list is a low lift cam to compliment the 1.5:1 rocker ratio. With the 1.750” valves, I’d like to run better than .300” lift at the valve. The plan is to work out a deal with a fella who has a flow bench. Not lookin to alter the head any, just lookin to figure the best lift for the design
-
Topic author - Posts: 1617
- Joined: Thu Jan 10, 2019 3:54 pm
- First Name: Kevin
- Last Name: Pharis
- Location: Sacramento CA
- Contact:
Re: Improved Akron-Hed sanity check
It’s no “show” polish... but it looks a whoooooole lot better than it did yesterday...!
-
- Posts: 28
- Joined: Sun Jan 06, 2019 4:54 pm
- First Name: Bruce
- Last Name: Hopkins
- * REQUIRED* Type and Year of Model Ts owned: 11 Torpedo, 20TT 1Ton, 27 Runabout
- Location: Victoria BC Canada
Re: Improved Akron-Hed sanity check
Kevin, the (in)-sanity check looks fantastic. It would be a shame to mark up the top of the valve cover in any way, but some sort of marking to indicate who and where this set-up was conceived should be considered. You can now not tell that the cover is a 3 piece affair.
-
- Posts: 872
- Joined: Sun Jan 06, 2019 11:15 am
- First Name: Andrew
- Last Name: Clary
- * REQUIRED* Type and Year of Model Ts owned: 1914 Runabout 1926 Coupe. Mercury Speedster #1249
- Location: Usa
Re: Improved Akron-Hed sanity check
7 1/2 is a good number. When you get to a flow bench I know a guy that lives near you with a couple of heads to compare it with. I suspect up to 3000 rpm it will come plenty well.
Andy
Andy
-
- Posts: 4320
- Joined: Sun Jan 06, 2019 3:13 pm
- First Name: Wayne
- Last Name: Sheldon
- * REQUIRED* Type and Year of Model Ts owned: 1915 Runabout 1913 Speedster
- Location: Grass Valley California, USA
- Board Member Since: 2005
Re: Improved Akron-Hed sanity check
"Sanity check"? I think you're crazy! But in a good way.
Aren't we all?
Aren't we all?
-
Topic author - Posts: 1617
- Joined: Thu Jan 10, 2019 3:54 pm
- First Name: Kevin
- Last Name: Pharis
- Location: Sacramento CA
- Contact:
Re: Improved Akron-Hed sanity check
With the valve cover done... all that’s left to do is...;
Finalize the push rod dimensions
Drill the last couple mounting bolt holes in the rocker supports
Notch the rocker shafts for the clamp bolts
Drill oil holes in the rockers
Rebuild the head
Machine new keeper grooves in the exhaust valves
Order custom intake valves
Order custom pistons
Design new camshaft
Build new header and exhaust system for the car
Build new intake to fit twin carbs
Build new hood to close up old header clearance and clear new header on opposite side
Freshen up the ‘ol motor so as to make all the magic happen
Paint everything to match
And finally... convince my wife it was all worth it!!!
Finalize the push rod dimensions
Drill the last couple mounting bolt holes in the rocker supports
Notch the rocker shafts for the clamp bolts
Drill oil holes in the rockers
Rebuild the head
Machine new keeper grooves in the exhaust valves
Order custom intake valves
Order custom pistons
Design new camshaft
Build new header and exhaust system for the car
Build new intake to fit twin carbs
Build new hood to close up old header clearance and clear new header on opposite side
Freshen up the ‘ol motor so as to make all the magic happen
Paint everything to match
And finally... convince my wife it was all worth it!!!
-
- Posts: 1716
- Joined: Sun Jan 06, 2019 11:47 am
- First Name: Herb
- Last Name: Iffrig
- * REQUIRED* Type and Year of Model Ts owned: 1911 Torpedo, 1918 TT Hucksters
- Location: St. Peters, MO
Re: Improved Akron-Hed sanity check
What is next, the exhaust manifold?
-
Topic author - Posts: 1617
- Joined: Thu Jan 10, 2019 3:54 pm
- First Name: Kevin
- Last Name: Pharis
- Location: Sacramento CA
- Contact:
Re: Improved Akron-Hed sanity check
I have the original exhaust manifold... but my speedster is an outside exhaust kind of car
. So planning on building a header flange. Header and tail pipe might get interesting with the steering box, alternator, water pump, and shift/e-brake levers all on that side...
-
Topic author - Posts: 1617
- Joined: Thu Jan 10, 2019 3:54 pm
- First Name: Kevin
- Last Name: Pharis
- Location: Sacramento CA
- Contact:
-
Topic author - Posts: 1617
- Joined: Thu Jan 10, 2019 3:54 pm
- First Name: Kevin
- Last Name: Pharis
- Location: Sacramento CA
- Contact:
Re: Improved Akron-Hed sanity check
How bout some header plates...?
Not sure what I’m doin yet... so made em outa stainless just incase
Not sure what I’m doin yet... so made em outa stainless just incase
-
Topic author - Posts: 1617
- Joined: Thu Jan 10, 2019 3:54 pm
- First Name: Kevin
- Last Name: Pharis
- Location: Sacramento CA
- Contact:
Re: Improved Akron-Hed sanity check
Just about have all the other loose ends tied up, so now it’s time to get the pushrods figured out
-
Topic author - Posts: 1617
- Joined: Thu Jan 10, 2019 3:54 pm
- First Name: Kevin
- Last Name: Pharis
- Location: Sacramento CA
- Contact:
Re: Improved Akron-Hed sanity check
Here’s a couple shots of the new keeper groove machined into the 351c valves that are going in the Akron’s exhaust. Also have custom .875” shorter valves on order that will go in for the intake.
-
- Posts: 121
- Joined: Mon Jan 07, 2019 7:13 am
- First Name: Randy
- Last Name: Brown
- * REQUIRED* Type and Year of Model Ts owned: 1910 Speedster, 1915 Speedster, 1924 Roadster, 1926 TT, 1923 boattail (project)
- Location: Austin, Texas
- Contact:
Re: Improved Akron-Hed sanity check
I am still looking for this cover for my Hal Akron head. A similar adaptation would really make yours pop!
-
Topic author - Posts: 1617
- Joined: Thu Jan 10, 2019 3:54 pm
- First Name: Kevin
- Last Name: Pharis
- Location: Sacramento CA
- Contact:
Re: Improved Akron-Hed sanity check
I considered that logo (specifically the script) design... A LOT!!! And would love to have included some element of its design into my valve cover. But as you can see, ultimately settled on smooth as I wasn’t happy with anything I scribbled down. Besides... I could always carve out another one
-
Topic author - Posts: 1617
- Joined: Thu Jan 10, 2019 3:54 pm
- First Name: Kevin
- Last Name: Pharis
- Location: Sacramento CA
- Contact:
Re: Improved Akron-Hed sanity check
That early Hal cover is only about 1-2” deep, and could easily be carved from solid. With that picture and a few well spent design hours, you could have a brand new valve cover before the week is over...modeltspeedster wrote: ↑Tue Mar 31, 2020 10:22 amI am still looking for this cover for my Hal Akron head
-
- Posts: 1443
- Joined: Sun Jan 06, 2019 11:08 am
- First Name: DAN
- Last Name: MCEACHERN
- * REQUIRED* Type and Year of Model Ts owned: too many. '14 touring, 2 depot hacks, 2 speedsters
- Location: ALAMEDA,CA,USA
Re: Improved Akron-Hed sanity check
Kevin- there is a real straight forward tool in SW to transfer a picture image into a sketch. Happy to share if you want it. Dan
-
Topic author - Posts: 1617
- Joined: Thu Jan 10, 2019 3:54 pm
- First Name: Kevin
- Last Name: Pharis
- Location: Sacramento CA
- Contact:
Re: Improved Akron-Hed sanity check
That sure sounds a bunch easier than my usual way... but pics typically have some sort of distortion and can’t (shouldn’t) be trusted. I have “vectorized” pics in the past, then imported as a sketch only to create a geometrically sound version using the “vectorized” sketch as a guide
I know this is technically the old fashioned way... but from what I have experienced, I feel yeilds the best (and most time consuming) results. I am curious to see how SW handles this feature and look forward to checking it out
I know this is technically the old fashioned way... but from what I have experienced, I feel yeilds the best (and most time consuming) results. I am curious to see how SW handles this feature and look forward to checking it out
-
Topic author - Posts: 1617
- Joined: Thu Jan 10, 2019 3:54 pm
- First Name: Kevin
- Last Name: Pharis
- Location: Sacramento CA
- Contact:
Re: Improved Akron-Hed sanity check
Building push rods this evening... got an ‘ol stock cam and a couple solid lifters stuck in a block as a baseline. Pushrods are made from high tensile steel rod stock, with pressed on hardened chromoly cups. The 1/4” pushrods run in bushings that pass thru the intake ports and upper water jacket of the head. These bushings prevent the pushrods from following the swing of the rocker arms. So I have devised an upper pushrod link with ball cups at both ends that will allow the upper end of the pushrod to follow the swing of the rocker arm.
Got the intake side all set up and we are looking promising! The exhaust side is soon to follow...
Got the intake side all set up and we are looking promising! The exhaust side is soon to follow...
-
- Posts: 1443
- Joined: Sun Jan 06, 2019 11:08 am
- First Name: DAN
- Last Name: MCEACHERN
- * REQUIRED* Type and Year of Model Ts owned: too many. '14 touring, 2 depot hacks, 2 speedsters
- Location: ALAMEDA,CA,USA
Re: Improved Akron-Hed sanity check
Some 16 Valve Roof heads used a similar arrangement on the pushrods although not that elegant.
-
Topic author - Posts: 1617
- Joined: Thu Jan 10, 2019 3:54 pm
- First Name: Kevin
- Last Name: Pharis
- Location: Sacramento CA
- Contact:
Re: Improved Akron-Hed sanity check
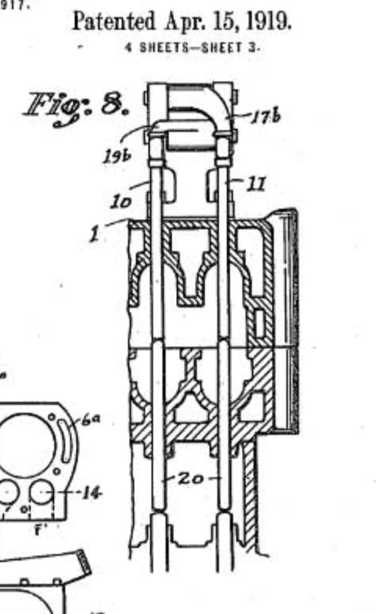
I know that the Roof 16 used a short link to connect the rockers to the valve tips... but just found these patent drawings showing the 2 piece pushrod design used on the A version of the Roof 16 heads
The bummer about this design, is that the pushrod needs to be a tight fit in the guide to prevent vacuum leaks at the guide... but this prevents the pushrod from swinging with the arc of the rocker arm. I imagine the A version Roof 16 valve train must have been problematic at higher speeds, and all the vacuum leaks must have been a pain at idle.
The Akron has a similar design system with the pushrod exposed to the intake port... except that the Akron didn’t use a “rocker”, and so the pushrod didn’t need to swing during operation. It does have a tube installed that passes thru the intake port to pilot the pushrod, but this tube is ultimately open to the port at the bottom. I intend to fill the bottom of the port with enough epoxy to seal off this tube and eliminate the associated vacuum leaks
The bummer about this design, is that the pushrod needs to be a tight fit in the guide to prevent vacuum leaks at the guide... but this prevents the pushrod from swinging with the arc of the rocker arm. I imagine the A version Roof 16 valve train must have been problematic at higher speeds, and all the vacuum leaks must have been a pain at idle.
The Akron has a similar design system with the pushrod exposed to the intake port... except that the Akron didn’t use a “rocker”, and so the pushrod didn’t need to swing during operation. It does have a tube installed that passes thru the intake port to pilot the pushrod, but this tube is ultimately open to the port at the bottom. I intend to fill the bottom of the port with enough epoxy to seal off this tube and eliminate the associated vacuum leaks
-
- Posts: 6596
- Joined: Sun Jan 06, 2019 11:18 am
- First Name: Scott
- Last Name: Conger
- * REQUIRED* Type and Year of Model Ts owned: 1919
- Location: not near anywhere, WY
- Board Member Since: 2005
Re: Improved Akron-Hed sanity check
What am I missing here? All T's have leaks at the pushrod and valve guides. You are probably aware, but others may not be, that excess clearance/wear at the guides is the primary reason that some Model Ts smoke so profusely at idle after a good run, but do not appear to smoke when out on the road. It is usually misdiagnosed as bad rings with lots of time and money thrown at the engine with no positive remediation of the original problem of smoking and may in fact make it smoke worse at idle.
Scott Conger
Tyranny under the guise of law is still Tyranny
NH Full Flow Float Valves™
Obsolete carburetor parts manufactured
Tyranny under the guise of law is still Tyranny
NH Full Flow Float Valves™
Obsolete carburetor parts manufactured
-
- Posts: 1359
- Joined: Thu Jan 10, 2019 5:47 pm
- First Name: Les
- Last Name: Schubert
- * REQUIRED* Type and Year of Model Ts owned: 27 roadster 13 touring
- Location: Calgary
Re: Improved Akron-Hed sanity check
Kevin
I have a Roof 8 (Laurel model 40) and the pushrods are essentially similar to your posting. The bottom of the pushrod essentially resembles a valve stem with a hole drilled into the top about a 1/2”. The rest of the pushrod is about 3/16” diameter and then the “cup tip” is at the top. I remade the lower stem parts (Years ago) and had to make one of the top halfs. Made that in 2 pieces and welded it together. LOTS of miles on it.
One other thing. The rocker arms are REALLY hard and long lasting material. The shafts are mild steel and are essentially a “consumable”.
I hope this helps
I have a Roof 8 (Laurel model 40) and the pushrods are essentially similar to your posting. The bottom of the pushrod essentially resembles a valve stem with a hole drilled into the top about a 1/2”. The rest of the pushrod is about 3/16” diameter and then the “cup tip” is at the top. I remade the lower stem parts (Years ago) and had to make one of the top halfs. Made that in 2 pieces and welded it together. LOTS of miles on it.
One other thing. The rocker arms are REALLY hard and long lasting material. The shafts are mild steel and are essentially a “consumable”.
I hope this helps
-
- Posts: 6596
- Joined: Sun Jan 06, 2019 11:18 am
- First Name: Scott
- Last Name: Conger
- * REQUIRED* Type and Year of Model Ts owned: 1919
- Location: not near anywhere, WY
- Board Member Since: 2005
Re: Improved Akron-Hed sanity check
rereading again about the rocker requiring the rod to swing is exactly what I didn't understand. DOH! Reading comprehension 101...
my last post is pretty much pointless in the discussion...sorry about that.

my last post is pretty much pointless in the discussion...sorry about that.
Scott Conger
Tyranny under the guise of law is still Tyranny
NH Full Flow Float Valves™
Obsolete carburetor parts manufactured
Tyranny under the guise of law is still Tyranny
NH Full Flow Float Valves™
Obsolete carburetor parts manufactured
-
Topic author - Posts: 1617
- Joined: Thu Jan 10, 2019 3:54 pm
- First Name: Kevin
- Last Name: Pharis
- Location: Sacramento CA
- Contact:
Re: Improved Akron-Hed sanity check
After 6 months of obsessing over this darn Akron-Hed... I’ve finally finished the rocker arm conversion!!!
Now to start rebuilding the head. Next stop... hard seats, guides, and surfacing. Then I will spot face all the head bolt pads so the adapter plate has a good surface to sit on. And that should be the extent of the work on the head. I was really careful while designing the adapter not to require any head modifications... just incase all this nonsense didn’t work, I didn’t want to become one of those guys who destroyed a hens tooth because of a so called... “good idea”
This winter I’ll pull the motor and start the freshen up. New custom dome pistons, fresh babbit, and a good look over for the transmission are on the list of to-do’s. Also will have my old cam mapped, and a new cam ground to match the old profile while accounting for the 1.4:1 rockers
Now to start rebuilding the head. Next stop... hard seats, guides, and surfacing. Then I will spot face all the head bolt pads so the adapter plate has a good surface to sit on. And that should be the extent of the work on the head. I was really careful while designing the adapter not to require any head modifications... just incase all this nonsense didn’t work, I didn’t want to become one of those guys who destroyed a hens tooth because of a so called... “good idea”

This winter I’ll pull the motor and start the freshen up. New custom dome pistons, fresh babbit, and a good look over for the transmission are on the list of to-do’s. Also will have my old cam mapped, and a new cam ground to match the old profile while accounting for the 1.4:1 rockers
-
Topic author - Posts: 1617
- Joined: Thu Jan 10, 2019 3:54 pm
- First Name: Kevin
- Last Name: Pharis
- Location: Sacramento CA
- Contact:
Re: Improved Akron-Hed sanity check
The machine shop told me 2 weeks to complete... that was 3+ months ago...
And so as I wait ever more impatiently for the machine shop to finish the guides, seats, and surface, I have found a fella to flow the head (should it ever be ready...
). I have no intentions of “porting” the head, just simply want to design and size the cam appropriately to make best use of the original port design.
I now resume impatiently waiting...
And so as I wait ever more impatiently for the machine shop to finish the guides, seats, and surface, I have found a fella to flow the head (should it ever be ready...
I now resume impatiently waiting...
-
- Posts: 1119
- Joined: Sat Apr 13, 2019 6:06 pm
- First Name: Susanne
- Last Name: Rohner
- * REQUIRED* Type and Year of Model Ts owned: Late '15 touring, "Angel".
- Location: Valfabbrica, (central) Italy
- MTFCA Life Member: YES
- Board Member Since: 1999
- Contact:
Re: Improved Akron-Hed sanity check
Have they even started it? Unless they can't get the guides, the seats are commonly available and decking a head takes about... 20 minutes. 30 if they take 2 passes. Seats X8 - maybe a couple hours, unless there's some major issue with the head.
3+ MONTHS is crazy long time.
3+ MONTHS is crazy long time.
-
- Posts: 5435
- Joined: Sat Jan 05, 2019 1:57 pm
- First Name: Mark
- Last Name: Gregush
- * REQUIRED* Type and Year of Model Ts owned: 1925 cutdown PU, 1948 F2 Ford flat head 6 pickup 3 speed
- Location: Portland Or
- Board Member Since: 1999
Re: Improved Akron-Hed sanity check
I went with the two piece push rod on my 28 Chevrolet conversion. The first go round I had the Chevrolet ball socket on the bottom push rod and a modified recessed cap screw on the rocker. Next go round I will be going back to the ball on the rocker and ball sockets on tops of both sections of the two push rods.
I know the voices aren't real but damn they have some good ideas!
1925 Cut down pickup
1948 Ford F2 pickup

1925 Cut down pickup
1948 Ford F2 pickup
-
Topic author - Posts: 1617
- Joined: Thu Jan 10, 2019 3:54 pm
- First Name: Kevin
- Last Name: Pharis
- Location: Sacramento CA
- Contact:
Re: Improved Akron-Hed sanity check
So after a dozen unanswered messages over the last 4 months, I went to the machine shop today... and had every intention of kicking the door in and taking my head back!!!
The door was already open... so I had to accept that the theatrics of kicking in the door in wasn’t going to play out as planned. Then just as I walked thru the door... I was caught off guard with a “Hey! How are ya...? Let me show you the progress”. Couldn’t they have returned at least one of my calls...?! Regardless, they had installed guides and 7 seats in my Akron-Hed, and what they had done so far looked as good as one could expect.
The 8th seat however... due to a core shift, the seat bore had broken thru the bottom side of the thin cantilevered base material, and created the very predicament I expected on every exhaust seat. For this seat we are following thru with the original plan of a stepped diameter seat to create the mechanical stop to seat the insert.
Supposedly the plan is to have the head ready to go next week... I’m at the edge of my seat...!
The door was already open... so I had to accept that the theatrics of kicking in the door in wasn’t going to play out as planned. Then just as I walked thru the door... I was caught off guard with a “Hey! How are ya...? Let me show you the progress”. Couldn’t they have returned at least one of my calls...?! Regardless, they had installed guides and 7 seats in my Akron-Hed, and what they had done so far looked as good as one could expect.
The 8th seat however... due to a core shift, the seat bore had broken thru the bottom side of the thin cantilevered base material, and created the very predicament I expected on every exhaust seat. For this seat we are following thru with the original plan of a stepped diameter seat to create the mechanical stop to seat the insert.
Supposedly the plan is to have the head ready to go next week... I’m at the edge of my seat...!
-
Topic author - Posts: 1617
- Joined: Thu Jan 10, 2019 3:54 pm
- First Name: Kevin
- Last Name: Pharis
- Location: Sacramento CA
- Contact:
Re: Improved Akron-Hed sanity check
Didn’t realize that I haven’t updated this thread in 6 MONTHS...!?!
I’ve been distracted by building Winfield’s lately... but the intent is to run 2 of them on the Akron when finished, so I didn’t exactly abandon the Akron effort.
I dropped into the machine shop bout Thanksgiving, and realized that no progress had been made since my previous visit several months earlier. I had already played this game several times before... and I felt it was time to find a more interested participant.
I brought the head home, machined the OD of the hard seat with a step, the head to match, but lack the equipment to finish the job. I found a fella who specializes in performance engines and special projects, and dropped the head off with him today. He also has a flow bench, and wants to do what he can to “help” the ports. I told him that I don’t want to grind out the ports at all... but he feels that we could probably help the ports a bunch just by systematically filling certain areas with epoxy. The plan is to also design a cam around the flow characteristics of the head. We’ll see how it goes this time around...

I’ve been distracted by building Winfield’s lately... but the intent is to run 2 of them on the Akron when finished, so I didn’t exactly abandon the Akron effort.
I dropped into the machine shop bout Thanksgiving, and realized that no progress had been made since my previous visit several months earlier. I had already played this game several times before... and I felt it was time to find a more interested participant.
I brought the head home, machined the OD of the hard seat with a step, the head to match, but lack the equipment to finish the job. I found a fella who specializes in performance engines and special projects, and dropped the head off with him today. He also has a flow bench, and wants to do what he can to “help” the ports. I told him that I don’t want to grind out the ports at all... but he feels that we could probably help the ports a bunch just by systematically filling certain areas with epoxy. The plan is to also design a cam around the flow characteristics of the head. We’ll see how it goes this time around...
-
- Posts: 1443
- Joined: Sun Jan 06, 2019 11:08 am
- First Name: DAN
- Last Name: MCEACHERN
- * REQUIRED* Type and Year of Model Ts owned: too many. '14 touring, 2 depot hacks, 2 speedsters
- Location: ALAMEDA,CA,USA
Re: Improved Akron-Hed sanity check
Kevin- sent you an email thru the forum. Dan
-
- Posts: 872
- Joined: Sun Jan 06, 2019 11:15 am
- First Name: Andrew
- Last Name: Clary
- * REQUIRED* Type and Year of Model Ts owned: 1914 Runabout 1926 Coupe. Mercury Speedster #1249
- Location: Usa
Re: Improved Akron-Hed sanity check
The words “design a cam” will instantly get Dan’s interest.
Andy
Andy
-
- Posts: 1443
- Joined: Sun Jan 06, 2019 11:08 am
- First Name: DAN
- Last Name: MCEACHERN
- * REQUIRED* Type and Year of Model Ts owned: too many. '14 touring, 2 depot hacks, 2 speedsters
- Location: ALAMEDA,CA,USA
Re: Improved Akron-Hed sanity check
Nah- I have a cam slave- I just pick up the phone and start talking, send a blank and get a box back. But looking at the resulting numbers that come back is of great interest.
"A mans got to know his limitations".
"A mans got to know his limitations".
-
Topic author - Posts: 1617
- Joined: Thu Jan 10, 2019 3:54 pm
- First Name: Kevin
- Last Name: Pharis
- Location: Sacramento CA
- Contact:
Re: Improved Akron-Hed sanity check
Good news came last week when the new shop doing the valve job on the Akron-Hed called to say the valve work was complete. He also surprised me when he said the porting and flow bench work was finished as well! All that’s left is a deck surfacing, then it’s back in my hands for the final bit of work and assembly. I’ll post some pics of the work done after I pick it up next week
-
Topic author - Posts: 1617
- Joined: Thu Jan 10, 2019 3:54 pm
- First Name: Kevin
- Last Name: Pharis
- Location: Sacramento CA
- Contact:
Re: Improved Akron-Hed sanity check
So... I’m finally back on the Akron-Hed track after a year and a half of machine shop confusion and carburetor creation. Spent the morning warming up the head enough to pack epoxy into the intake ports, sealing up the auxiliary intake passages that connect down into the stock intake ports in the block. When the epoxy cures, I will set the head up in the mill and drill/ream the epoxy plugs to accept new push rod tubes.
Intake
Exhaust
Intake
Exhaust
-
Topic author - Posts: 1617
- Joined: Thu Jan 10, 2019 3:54 pm
- First Name: Kevin
- Last Name: Pharis
- Location: Sacramento CA
- Contact:
Re: Improved Akron-Hed sanity check
And of course, a pic of the Akron-Hed with my new manifold and carbs mocked up
-
- Posts: 5435
- Joined: Sat Jan 05, 2019 1:57 pm
- First Name: Mark
- Last Name: Gregush
- * REQUIRED* Type and Year of Model Ts owned: 1925 cutdown PU, 1948 F2 Ford flat head 6 pickup 3 speed
- Location: Portland Or
- Board Member Since: 1999
Re: Improved Akron-Hed sanity check
Kevin; Nice! Glad to see it brought back up from way back when. 

I know the voices aren't real but damn they have some good ideas!
1925 Cut down pickup
1948 Ford F2 pickup

1925 Cut down pickup
1948 Ford F2 pickup
-
Topic author - Posts: 1617
- Joined: Thu Jan 10, 2019 3:54 pm
- First Name: Kevin
- Last Name: Pharis
- Location: Sacramento CA
- Contact:
Re: Improved Akron-Hed sanity check
Feels kinda weird working on my own stuff...
Got the bolt bosses faced to a common height so that the rocker sub plate doesn’t get twisted when torqued down. Also the valve guide bosses were trimmed to clear the stock T springs. Made spacers to shim the springs to the correct compression height. Drilled and reamed the epoxy plugs for new push rod guides. And started turning the new bronze push rod guides. Will need to sand and blend the epoxy plugs to match the port floors prior to pressing in the push rod guides
Got the bolt bosses faced to a common height so that the rocker sub plate doesn’t get twisted when torqued down. Also the valve guide bosses were trimmed to clear the stock T springs. Made spacers to shim the springs to the correct compression height. Drilled and reamed the epoxy plugs for new push rod guides. And started turning the new bronze push rod guides. Will need to sand and blend the epoxy plugs to match the port floors prior to pressing in the push rod guides
-
- Posts: 872
- Joined: Sun Jan 06, 2019 11:15 am
- First Name: Andrew
- Last Name: Clary
- * REQUIRED* Type and Year of Model Ts owned: 1914 Runabout 1926 Coupe. Mercury Speedster #1249
- Location: Usa
Re: Improved Akron-Hed sanity check
What did the auxiliary passages do?
Andy
Andy
-
Topic author - Posts: 1617
- Joined: Thu Jan 10, 2019 3:54 pm
- First Name: Kevin
- Last Name: Pharis
- Location: Sacramento CA
- Contact:
Re: Improved Akron-Hed sanity check
I believe that the the auxiliary passage was intended to offer a low performance carburetor/manifold/port option. The intake ports in the head could be blocked, and the stock intake manifold and carburetor could be used. Or the ports in the block could be blocked, allowing use of a performance manifold and carburetor.
This is a theory based upon the next HAL designed engine, the SOHC Model A. These heads also had an auxiliary intake port to offer 2 levels of performance. Here are pics of SOHC HAL engines at the Speedway museum showing the port options;
This is a theory based upon the next HAL designed engine, the SOHC Model A. These heads also had an auxiliary intake port to offer 2 levels of performance. Here are pics of SOHC HAL engines at the Speedway museum showing the port options;
-
- Posts: 872
- Joined: Sun Jan 06, 2019 11:15 am
- First Name: Andrew
- Last Name: Clary
- * REQUIRED* Type and Year of Model Ts owned: 1914 Runabout 1926 Coupe. Mercury Speedster #1249
- Location: Usa
Re: Improved Akron-Hed sanity check
I guess you could have left them open, bolt on an OF Stromberg and run the winfields with a progressive linkage.
Andy
Andy
-
- Posts: 62
- Joined: Mon Jan 14, 2019 1:53 am
- First Name: Mike
- Last Name: Penserini
- * REQUIRED* Type and Year of Model Ts owned: 27 roadster pickup, brass speedster, Mercury # 253 B, Mercury # 1070, Faultless "Hoosier" parts collection.
- Location: Sacramento
-
Topic author - Posts: 1617
- Joined: Thu Jan 10, 2019 3:54 pm
- First Name: Kevin
- Last Name: Pharis
- Location: Sacramento CA
- Contact:
Re: Improved Akron-Hed sanity check
I’m officially mad at my touring car... so thought I would see if Andy’s idea had any merit. I didn’t have any OF’s laying around, but was able to cobble this up as a proof of concept
I’m gonna need some ideas on how to hook up the progressive linkage
-
- Posts: 1443
- Joined: Sun Jan 06, 2019 11:08 am
- First Name: DAN
- Last Name: MCEACHERN
- * REQUIRED* Type and Year of Model Ts owned: too many. '14 touring, 2 depot hacks, 2 speedsters
- Location: ALAMEDA,CA,USA
Re: Improved Akron-Hed sanity check
Ya should get your 2nd manifold back and run two updrafts as well!
-
Topic author - Posts: 1617
- Joined: Thu Jan 10, 2019 3:54 pm
- First Name: Kevin
- Last Name: Pharis
- Location: Sacramento CA
- Contact:
Re: Improved Akron-Hed sanity check
So it turns out that it took a year to get the carbs, intake manifold, water manifold, and water pump figured out… and now it’s time to think about the exhaust.
Plan A was to build a cone header out the left side of the car. This was going to require new hood sides and mods to the body for exhaust brackets. Sounds easy at first, but a closer look revealed many complications that I simply didn’t want to get involved in.
Plan B involves using the original exhaust manifold (or a similar looking header) and routing the pipe under the car. Doesn’t seem right to hide the pipe under the car… but the manifold has a really nice shape, and won’t require much change to the car to get it all hooked up.
The Boyd water pump amazingly fits right under the manifold as tho it was meant to be there. Will be lots of clearance around the starter and my frame mounted steering gearbox too. I may loose a few cool points for staying under the hood, but it’s all fitting up nicely
Plan A was to build a cone header out the left side of the car. This was going to require new hood sides and mods to the body for exhaust brackets. Sounds easy at first, but a closer look revealed many complications that I simply didn’t want to get involved in.
Plan B involves using the original exhaust manifold (or a similar looking header) and routing the pipe under the car. Doesn’t seem right to hide the pipe under the car… but the manifold has a really nice shape, and won’t require much change to the car to get it all hooked up.
The Boyd water pump amazingly fits right under the manifold as tho it was meant to be there. Will be lots of clearance around the starter and my frame mounted steering gearbox too. I may loose a few cool points for staying under the hood, but it’s all fitting up nicely
-
- Posts: 5435
- Joined: Sat Jan 05, 2019 1:57 pm
- First Name: Mark
- Last Name: Gregush
- * REQUIRED* Type and Year of Model Ts owned: 1925 cutdown PU, 1948 F2 Ford flat head 6 pickup 3 speed
- Location: Portland Or
- Board Member Since: 1999
Re: Improved Akron-Hed sanity check
Where is the extra cooling line being fed into? When I did my Chevrolet conversion, I ran a line from the pump to back of the head.
I know the voices aren't real but damn they have some good ideas!
1925 Cut down pickup
1948 Ford F2 pickup

1925 Cut down pickup
1948 Ford F2 pickup
-
Topic author - Posts: 1617
- Joined: Thu Jan 10, 2019 3:54 pm
- First Name: Kevin
- Last Name: Pharis
- Location: Sacramento CA
- Contact:
Re: Improved Akron-Hed sanity check
You may have this this project in another thread…
Will most likely block off or severely restrict the front and center ports as the rear port is the target
Will most likely block off or severely restrict the front and center ports as the rear port is the target
-
Topic author - Posts: 1617
- Joined: Thu Jan 10, 2019 3:54 pm
- First Name: Kevin
- Last Name: Pharis
- Location: Sacramento CA
- Contact:
Re: Improved Akron-Hed sanity check
And so it begins…!
Started the tear down today to begin the Akron-Hed swap. The motor is stripped down and getting cleaned up. Then will pull the head and start pulling out the valves.
I found the starter housing screws are loose, and the timing gear is loose on the cam too! All else is appears to be in good shape tho…
Started the tear down today to begin the Akron-Hed swap. The motor is stripped down and getting cleaned up. Then will pull the head and start pulling out the valves.
I found the starter housing screws are loose, and the timing gear is loose on the cam too! All else is appears to be in good shape tho…
-
Topic author - Posts: 1617
- Joined: Thu Jan 10, 2019 3:54 pm
- First Name: Kevin
- Last Name: Pharis
- Location: Sacramento CA
- Contact:
Re: Improved Akron-Hed sanity check
Got the head off tonite and it looks pretty good in there… except for those giant scuff marks and a little water damage in the bores! Clearly I have put a few miles on the ol girl, but it’s goin to have to work for a bit longer