Adjusting a trembler coil before 1908
Forum rules
If you need help logging in, or have question about how something works, use the Support forum located here Support Forum
Complete set of Forum Rules Forum Rules
If you need help logging in, or have question about how something works, use the Support forum located here Support Forum
Complete set of Forum Rules Forum Rules
-
Topic author - Posts: 654
- Joined: Mon Oct 07, 2019 2:00 pm
- First Name: George John
- Last Name: Drobnock
- * REQUIRED* Type and Year of Model Ts owned: 1922 Coupe
- Location: Central Pennsylvania
Adjusting a trembler coil before 1908
It still amazes me as to how much promotion is given to the use of a HCCT for suggesting a properly adjusted coil.
The HCCT did not make an appearance until circa 1912, Ford did not begin producing a HCCT until circa 1919. My gosh, how on earth did folks with tremble coils in their ignition manager to start their motors?
Most instructions (1906 - forward) state that a coil with six or eight volts - dry cells- should draw no more than 1.5 amps. Of course, if a coil was designed to operate on a voltage greater than six volts would draw more current.
Why the 1.5 amp current suggestion, any draw greater would put a strain on the batteries and they would drain or go flat faster.
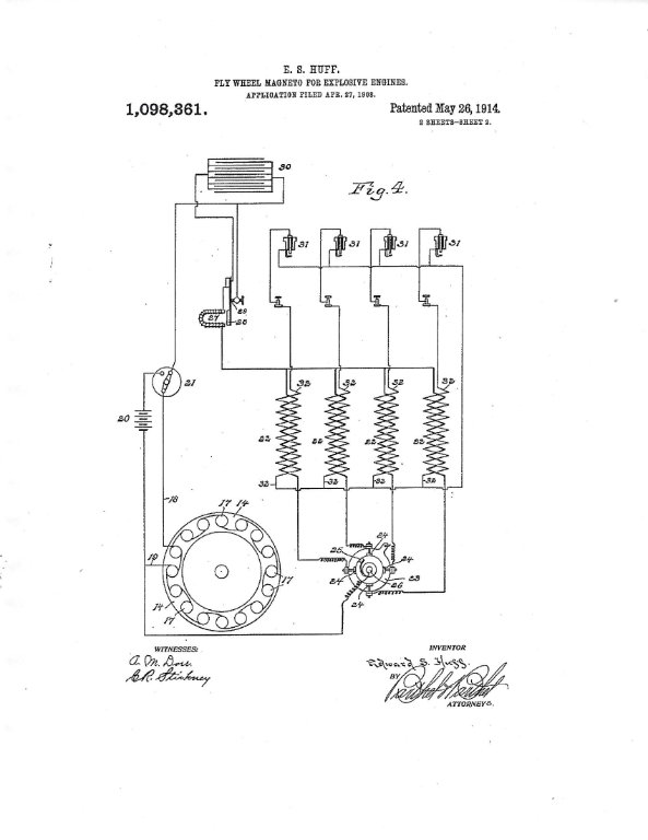
It wasn't until Huff gave Henry the ac generator in the form of the magneto that there was no need to worry about battery drain. The model T Ford ignition system was in play 1907/1908 and not patented until 1914.
Funny thing, even with the HCCT, it is suggested that the coil be set to draw 1.5 amps.
The HCCT did not make an appearance until circa 1912, Ford did not begin producing a HCCT until circa 1919. My gosh, how on earth did folks with tremble coils in their ignition manager to start their motors?
Most instructions (1906 - forward) state that a coil with six or eight volts - dry cells- should draw no more than 1.5 amps. Of course, if a coil was designed to operate on a voltage greater than six volts would draw more current.
Why the 1.5 amp current suggestion, any draw greater would put a strain on the batteries and they would drain or go flat faster.
It wasn't until Huff gave Henry the ac generator in the form of the magneto that there was no need to worry about battery drain. The model T Ford ignition system was in play 1907/1908 and not patented until 1914.
Funny thing, even with the HCCT, it is suggested that the coil be set to draw 1.5 amps.
-
- Posts: 6596
- Joined: Sun Jan 06, 2019 11:18 am
- First Name: Scott
- Last Name: Conger
- * REQUIRED* Type and Year of Model Ts owned: 1919
- Location: not near anywhere, WY
- Board Member Since: 2005
Re: Adjusting a trembler coil before 1908
Well, since you seem to never tire of asking this question, the least I can do is to never tire of answering it..
Your constant fretting over the HCCT, which doesn't even fit early coils, added the benefit of being able to adjust out double sparking on later coils...which just by remarkably coincidence are designed to eliminate double sparking through improved design. It isn't remarkable that when a manufacturer designs something like a coil that has the new ability to be adjusted to not double spark that *GASP* there is an actual tool that detects and allows for the elimination of said sparking. Since early coils had absolutely no control over double sparking, there really wasn't a need to make the HCCT adaptable to earlier coils. Whether or not double sparking is good or bad, early on it was generally though not universally accepted to be a bad thing (though not always) while more recently, methods of adjusting coils pretty much means that double sparking is generally though not universally accepted to be an event which can be dealt with.
I look forward to your next coverage of this topic in about, oh, 90 days or so.
They adjusted it per Dykes, et al, by adjusting tension to get 1.5 A and then turn the knurled thumb-wheel until all cylinders gave best/smoothest performance.The HCCT did not make an appearance until circa 1912, Ford did not begin producing a HCCT until circa 1919. My gosh, how on earth did folks with tremble coils in their ignition manager to start their motors?
Your constant fretting over the HCCT, which doesn't even fit early coils, added the benefit of being able to adjust out double sparking on later coils...which just by remarkably coincidence are designed to eliminate double sparking through improved design. It isn't remarkable that when a manufacturer designs something like a coil that has the new ability to be adjusted to not double spark that *GASP* there is an actual tool that detects and allows for the elimination of said sparking. Since early coils had absolutely no control over double sparking, there really wasn't a need to make the HCCT adaptable to earlier coils. Whether or not double sparking is good or bad, early on it was generally though not universally accepted to be a bad thing (though not always) while more recently, methods of adjusting coils pretty much means that double sparking is generally though not universally accepted to be an event which can be dealt with.
I look forward to your next coverage of this topic in about, oh, 90 days or so.
Scott Conger
Tyranny under the guise of law is still Tyranny
NH Full Flow Float Valves™
Obsolete carburetor parts manufactured
Tyranny under the guise of law is still Tyranny
NH Full Flow Float Valves™
Obsolete carburetor parts manufactured
-
Topic author - Posts: 654
- Joined: Mon Oct 07, 2019 2:00 pm
- First Name: George John
- Last Name: Drobnock
- * REQUIRED* Type and Year of Model Ts owned: 1922 Coupe
- Location: Central Pennsylvania
Re: Adjusting a trembler coil before 1908
I look forward to your next coverage of this topic in about, oh, 90 days or so --too.
Scott, my point is that before the microchip, there were other methods and suggestion for adjusting the tremble coil. Too, I wonder how many of the new Model T owners on this form are aware that other manufactures used such a coil for ignition.
And yes Scott I do own a HCCT from a Ford dealership. The fellow who gave it to me stated that even when it was in the shop area it was a conversation piece, and not always the final solution to maximum performance for the Model T.
Question for you Scott, a major and important part of the coil and adjustments is the cushion spring. When was the cushion spring introduced?
Keep them views coming Scott.

Scott, my point is that before the microchip, there were other methods and suggestion for adjusting the tremble coil. Too, I wonder how many of the new Model T owners on this form are aware that other manufactures used such a coil for ignition.
And yes Scott I do own a HCCT from a Ford dealership. The fellow who gave it to me stated that even when it was in the shop area it was a conversation piece, and not always the final solution to maximum performance for the Model T.
Question for you Scott, a major and important part of the coil and adjustments is the cushion spring. When was the cushion spring introduced?
Keep them views coming Scott.



-
Topic author - Posts: 654
- Joined: Mon Oct 07, 2019 2:00 pm
- First Name: George John
- Last Name: Drobnock
- * REQUIRED* Type and Year of Model Ts owned: 1922 Coupe
- Location: Central Pennsylvania
Re: Adjusting a trembler coil before 1908
And...
Attached is a 1906 article about coil adjustment from the manufactures of the period, to include Leon Rubay, importer of french trembler or vibrator coils, Dow Portable Electric Company, Dayton Electrical Manufacturing, Connecticut Telephone and Electric, and Pittsfield Spark Coil Company.
Each with suggestions on adjusting the coils, with a common statement - do not adjust by sound or buzz.
Attached is a 1906 article about coil adjustment from the manufactures of the period, to include Leon Rubay, importer of french trembler or vibrator coils, Dow Portable Electric Company, Dayton Electrical Manufacturing, Connecticut Telephone and Electric, and Pittsfield Spark Coil Company.
Each with suggestions on adjusting the coils, with a common statement - do not adjust by sound or buzz.
-
- Posts: 7901
- Joined: Sun Feb 14, 2021 10:08 pm
- First Name: Pat
- Last Name: McNallen
- * REQUIRED* Type and Year of Model Ts owned: 1926-7 roadster
- Location: Graham, Texas
- Board Member Since: 2021
Re: Adjusting a trembler coil before 1908
1.5 amps at around 6 volts gives good spark energy and good point life. As to how people adjusted coils prior to the HCCT, most didn't, and those that did used an ammeter, if they had one and knew how to use it.
There was no accurate way to adjust "time to fire". New-made coils were probably more consistent as to time to fire than the century old coils we are dealing with today, but I'm sure that a good many brand new Model Ts were delivered with less than ideal coil synchronization, and it probably went downhill from there for most of them. Some cars "ran sweeter" than others, even with an expert tune up, and the reasons why were generally little understood.
The HCCT was a step forward, as was the introduction of the extra spring in the point sets.
With an ECCT, coils can be adjusted and synchronized very accurately, and that will allow an engine in good mechanical tune to perform at its best, both as to power and smoothness, and deliver maximum point and timer life with minimum adjustment.
If anyone is still running a Model T on dry cells, adjusting the coils on an ECCT will give the best performance with the lowest obtainable battery drain consistent with good point life, easy starting and good overall performance. A storage battery is a much better choice, and a storage battery with a generator is much better yet. A good-performing magneto is the best for overall performance, especially if combined with a storage battery and generator, which can facilitate cold starting.
There was no accurate way to adjust "time to fire". New-made coils were probably more consistent as to time to fire than the century old coils we are dealing with today, but I'm sure that a good many brand new Model Ts were delivered with less than ideal coil synchronization, and it probably went downhill from there for most of them. Some cars "ran sweeter" than others, even with an expert tune up, and the reasons why were generally little understood.
The HCCT was a step forward, as was the introduction of the extra spring in the point sets.
With an ECCT, coils can be adjusted and synchronized very accurately, and that will allow an engine in good mechanical tune to perform at its best, both as to power and smoothness, and deliver maximum point and timer life with minimum adjustment.
If anyone is still running a Model T on dry cells, adjusting the coils on an ECCT will give the best performance with the lowest obtainable battery drain consistent with good point life, easy starting and good overall performance. A storage battery is a much better choice, and a storage battery with a generator is much better yet. A good-performing magneto is the best for overall performance, especially if combined with a storage battery and generator, which can facilitate cold starting.
Last edited by TXGOAT2 on Sun Apr 23, 2023 4:34 pm, edited 1 time in total.
-
- Posts: 7901
- Joined: Sun Feb 14, 2021 10:08 pm
- First Name: Pat
- Last Name: McNallen
- * REQUIRED* Type and Year of Model Ts owned: 1926-7 roadster
- Location: Graham, Texas
- Board Member Since: 2021
Re: Adjusting a trembler coil before 1908
Them thaings all buzz differnt, and if you ain't keerful, they gonna bite you fer shure.
-
- Posts: 373
- Joined: Sun Jan 06, 2019 6:57 pm
- First Name: John
- Last Name: Hunter
- * REQUIRED* Type and Year of Model Ts owned: 1926 Geelong Tourer
- Location: Blue Mountains, Australia
- Board Member Since: 2002
- Contact:
Re: Adjusting a trembler coil before 1908
Exactly why a HCCT was pointless. Also, prior to the Model T these coils were operated on DC only - not AC as produced by a HCCT. Setting by DC current is a suitable way to adjust these coils, because the ideal setting is for the coil to draw the highest level of current before the core saturates. Beyond this, the excess input energy is wasted as heat in the coil, and unnecessarily reduces points life. When these early DC coils were used in early Model T's on magneto - and thus AC, the absence of a cushion spring created difficulties, because the points opening time is not properly defined. Hence, the development of the cushion spring.Scott_Conger wrote: ↑Sun Apr 23, 2023 3:17 pmSince early coils had absolutely no control over double sparking, there really wasn't a need to make the HCCT adaptable to earlier coils.
-
- Posts: 7901
- Joined: Sun Feb 14, 2021 10:08 pm
- First Name: Pat
- Last Name: McNallen
- * REQUIRED* Type and Year of Model Ts owned: 1926-7 roadster
- Location: Graham, Texas
- Board Member Since: 2021
Re: Adjusting a trembler coil before 1908
Early one and two cylinder engines that ran at very low RPM were not much affected by coil "Time To Fire". Coil synchronization was not an issue.
I suspect that many early motorists got a lot of exersize when attempting to start a car with weak dry cell batteries or poorly adjusted coils.
I suspect that many early motorists got a lot of exersize when attempting to start a car with weak dry cell batteries or poorly adjusted coils.
-
- Posts: 617
- Joined: Fri Dec 13, 2019 1:04 am
- First Name: Luke
- Last Name: P
- * REQUIRED* Type and Year of Model Ts owned: 1926
- Location: New Zealand
Re: Adjusting a trembler coil before 1908
John,JohnH wrote: ↑Sun Apr 23, 2023 5:45 pmExactly why a HCCT was pointless.Scott_Conger wrote: ↑Sun Apr 23, 2023 3:17 pmSince early coils had absolutely no control over double sparking, there really wasn't a need to make the HCCT adaptable to earlier coils.
I've occasionally pondered over possible differing response characteristics of early moving coil meters when operated outside of their intended parameters.
It would be interesting to know whether there is, in fact, much disparity; as I suspect you may have a good collection of such things I wonder if you've ever conducted any tests? One could simply use a coil to conduct such a test of course, but more accurately perhaps a simple 555 with FET switch, set to the typical operating frequency of a coil would be best?
It might also be interesting to test a Heinz (or any other 'different' coil) to see if these altered the meter response over a 'standard' coil.
Obviously this is of little practical use today, given how much more accurately we can measure/test such things, however if one was at a loose end on a rainy Sunday afternoon...

Luke.
-
- Posts: 373
- Joined: Sun Jan 06, 2019 6:57 pm
- First Name: John
- Last Name: Hunter
- * REQUIRED* Type and Year of Model Ts owned: 1926 Geelong Tourer
- Location: Blue Mountains, Australia
- Board Member Since: 2002
- Contact:
Re: Adjusting a trembler coil before 1908
Luke, I've wondered that with the meters that have been used in various buzz box testers. Given the atrocious current waveform, one wonders if each type of meter will read the same with one particular coil.
The closest to exploring this I got was back in the days of pre-electronic testing, when I did use buzz boxes. Given that the HCCT was AC with a moving iron meter, I was curious to see if a coil set on 50 cycle AC with a moving iron meter would give the same result as a DC buzz box, with a moving coil meter.
The answer is that it didn't, and there was about a 200mA discrepency. I can't remember now which instrument measured higher, but it was obvious that the 1.3A DC setting for buzz boxes did not exactly correspond to the 1.3A from a HCCT.
The closest to exploring this I got was back in the days of pre-electronic testing, when I did use buzz boxes. Given that the HCCT was AC with a moving iron meter, I was curious to see if a coil set on 50 cycle AC with a moving iron meter would give the same result as a DC buzz box, with a moving coil meter.
The answer is that it didn't, and there was about a 200mA discrepency. I can't remember now which instrument measured higher, but it was obvious that the 1.3A DC setting for buzz boxes did not exactly correspond to the 1.3A from a HCCT.
-
Topic author - Posts: 654
- Joined: Mon Oct 07, 2019 2:00 pm
- First Name: George John
- Last Name: Drobnock
- * REQUIRED* Type and Year of Model Ts owned: 1922 Coupe
- Location: Central Pennsylvania
Re: Adjusting a trembler coil before 1908
To John and Luke:
From your response, by the time the Model T was an established automobile and the HCCT was introduced, the electrical design of meters was standardized. Up until the standardization, the early meters varied in measured values? fromebayadver.
From your response, by the time the Model T was an established automobile and the HCCT was introduced, the electrical design of meters was standardized. Up until the standardization, the early meters varied in measured values? fromebayadver.
-
- Posts: 6596
- Joined: Sun Jan 06, 2019 11:18 am
- First Name: Scott
- Last Name: Conger
- * REQUIRED* Type and Year of Model Ts owned: 1919
- Location: not near anywhere, WY
- Board Member Since: 2005
Re: Adjusting a trembler coil before 1908
John
with the DC box, you were measuring a steady state DC (one direction) current. With the HCCT, you were measuring an average of the alternating current (likely with occasional missed sparks which would change the average current potentially on the order of 200mA). Add to the fact that likely neither meter was calibrated, each meter was built to measure a DIFFERENT type current, and the test sample (of meters) was exceedingly small, I would have placed a large sum of money on the bet that the values would not be exactly the same. Add to this the fact that depending on how a coil is adjusted, it can be made to perform well on DC, to perform well on AC, or perform well on both. I am fairly sure that either one of those 3 states would show varying consistency or discrepancy when measured on a DC or AC meter and then compared for values. My first use of a Strobo-Spark was quite illuminating in this respect. With this device, you could set the coil to run at 1.3A on low voltage (and it would be off scale at medium or high voltage), you could set it to run at 1.3A at a medium voltage (and it would be off scale for low or high voltage, etc). Finally, the coil could be adjusted to draw 1.3A at ALL voltages, and it was in this state in which the coil operated the best both on battery AND magneto at all speeds. Again, I am surmising that this 1 coil, adjusted in 3 different particular states for 1.3A on AC would very likely give different readings on a DC meter if measured in each individual state of adjustment.
George
with respect to varying measurements due to "lack of standardization" of meters, AMPS are AMPS. There are umpteen ways to skin a cat, but in the end, it's still a cat. Some meters are highly accurate, some are approximate, some are calibrated, some have not been calibrated in years. I would suggest that there is no such thing as "standardization" in meter technology then, or now - there is only somewhat-accurate or very-accurate with certain basic principles followed such that they did what they were supposed to do. I would suggest that the previously underlined statement is pretty much the extent of "standardization". There were DC meters, and there were AC meters - each designed by their manufacturer to measure DC or AC respectively, and each manufacturer designed and built them with an eye toward an acceptable level of accuracy and robustness, in order to get them sold.
with the DC box, you were measuring a steady state DC (one direction) current. With the HCCT, you were measuring an average of the alternating current (likely with occasional missed sparks which would change the average current potentially on the order of 200mA). Add to the fact that likely neither meter was calibrated, each meter was built to measure a DIFFERENT type current, and the test sample (of meters) was exceedingly small, I would have placed a large sum of money on the bet that the values would not be exactly the same. Add to this the fact that depending on how a coil is adjusted, it can be made to perform well on DC, to perform well on AC, or perform well on both. I am fairly sure that either one of those 3 states would show varying consistency or discrepancy when measured on a DC or AC meter and then compared for values. My first use of a Strobo-Spark was quite illuminating in this respect. With this device, you could set the coil to run at 1.3A on low voltage (and it would be off scale at medium or high voltage), you could set it to run at 1.3A at a medium voltage (and it would be off scale for low or high voltage, etc). Finally, the coil could be adjusted to draw 1.3A at ALL voltages, and it was in this state in which the coil operated the best both on battery AND magneto at all speeds. Again, I am surmising that this 1 coil, adjusted in 3 different particular states for 1.3A on AC would very likely give different readings on a DC meter if measured in each individual state of adjustment.
George
with respect to varying measurements due to "lack of standardization" of meters, AMPS are AMPS. There are umpteen ways to skin a cat, but in the end, it's still a cat. Some meters are highly accurate, some are approximate, some are calibrated, some have not been calibrated in years. I would suggest that there is no such thing as "standardization" in meter technology then, or now - there is only somewhat-accurate or very-accurate with certain basic principles followed such that they did what they were supposed to do. I would suggest that the previously underlined statement is pretty much the extent of "standardization". There were DC meters, and there were AC meters - each designed by their manufacturer to measure DC or AC respectively, and each manufacturer designed and built them with an eye toward an acceptable level of accuracy and robustness, in order to get them sold.
Scott Conger
Tyranny under the guise of law is still Tyranny
NH Full Flow Float Valves™
Obsolete carburetor parts manufactured
Tyranny under the guise of law is still Tyranny
NH Full Flow Float Valves™
Obsolete carburetor parts manufactured
-
Topic author - Posts: 654
- Joined: Mon Oct 07, 2019 2:00 pm
- First Name: George John
- Last Name: Drobnock
- * REQUIRED* Type and Year of Model Ts owned: 1922 Coupe
- Location: Central Pennsylvania
Re: Adjusting a trembler coil before 1908
Scott
Thanks for the explanation of AC and DC meter measurement.
My two test units, for me, give a correct indication of current draw for coil setting and adjustment, either AC or DC. The AC unit has a step down transformer of 8, 16, 24 volts AC at 10 amps (top left). The DC unit relays on a 6/8 volt battery for voltage and current.
The Sperry meter is for testing the capacitor. And the analogue gauge (upper right) for compression.
Thanks for the explanation of AC and DC meter measurement.
My two test units, for me, give a correct indication of current draw for coil setting and adjustment, either AC or DC. The AC unit has a step down transformer of 8, 16, 24 volts AC at 10 amps (top left). The DC unit relays on a 6/8 volt battery for voltage and current.
The Sperry meter is for testing the capacitor. And the analogue gauge (upper right) for compression.