DIXIE Axle Rebuild Stand
Forum rules
If you need help logging in, or have question about how something works, use the Support forum located here Support Forum
Complete set of Forum Rules Forum Rules
If you need help logging in, or have question about how something works, use the Support forum located here Support Forum
Complete set of Forum Rules Forum Rules
-
namdc3
Topic author - Posts: 402
- Joined: Sun Jan 06, 2019 4:15 pm
- First Name: Nikolaus
- Last Name: Martin
- Location: Kansas City
- MTFCA Life Member: YES
DIXIE Axle Rebuild Stand
I recently purchased a Dixie model axle rebuild stand made by Service Station Equipment Company (SSECO). It is missing the foldable extension that supports the torque tube and holds the tool tray. Does anyone have one of this style that they'd be willing to take a bunch of detailed photos and measurements of? I can get close with the advertising images and some images I found of another stand, but I'd like to get it as close as I can.
I believe that is was likely black or dark gray, as evidenced by the faded paint in the letters of "Dixie" and the faded paint on the casting rib below the drip pan. The drip pan is also black, although it is so black that it may have been repainted at some point.
I believe that is was likely black or dark gray, as evidenced by the faded paint in the letters of "Dixie" and the faded paint on the casting rib below the drip pan. The drip pan is also black, although it is so black that it may have been repainted at some point.
Last edited by namdc3 on Sun Sep 14, 2025 10:25 pm, edited 1 time in total.
-
namdc3
Topic author - Posts: 402
- Joined: Sun Jan 06, 2019 4:15 pm
- First Name: Nikolaus
- Last Name: Martin
- Location: Kansas City
- MTFCA Life Member: YES
Re: DIXIE Axle Rebuild Stand
Last edited by namdc3 on Sun Sep 14, 2025 10:21 pm, edited 1 time in total.
-
namdc3
Topic author - Posts: 402
- Joined: Sun Jan 06, 2019 4:15 pm
- First Name: Nikolaus
- Last Name: Martin
- Location: Kansas City
- MTFCA Life Member: YES
Re: DIXIE Axle Rebuild Stand
Last edited by namdc3 on Sun Sep 14, 2025 10:22 pm, edited 1 time in total.
-
namdc3
Topic author - Posts: 402
- Joined: Sun Jan 06, 2019 4:15 pm
- First Name: Nikolaus
- Last Name: Martin
- Location: Kansas City
- MTFCA Life Member: YES
Re: DIXIE Axle Rebuild Stand
The Dearborn AB-4 on the left side of this yellow-colored advertisement is similar to the red stand that Don Lang posted in the classifieds. It has a slightly different folding attachment design.
Last edited by namdc3 on Mon Sep 15, 2025 8:31 am, edited 1 time in total.
-
namdc3
Topic author - Posts: 402
- Joined: Sun Jan 06, 2019 4:15 pm
- First Name: Nikolaus
- Last Name: Martin
- Location: Kansas City
- MTFCA Life Member: YES
Re: DIXIE Axle Rebuild Stand
This is a different one that I found online. I suspect mine had this style of folding attachment, as the style shown in the patent was only shown in advertising for a short period of time.
Last edited by namdc3 on Sun Sep 14, 2025 10:15 pm, edited 1 time in total.
-
namdc3
Topic author - Posts: 402
- Joined: Sun Jan 06, 2019 4:15 pm
- First Name: Nikolaus
- Last Name: Martin
- Location: Kansas City
- MTFCA Life Member: YES
Re: DIXIE Axle Rebuild Stand
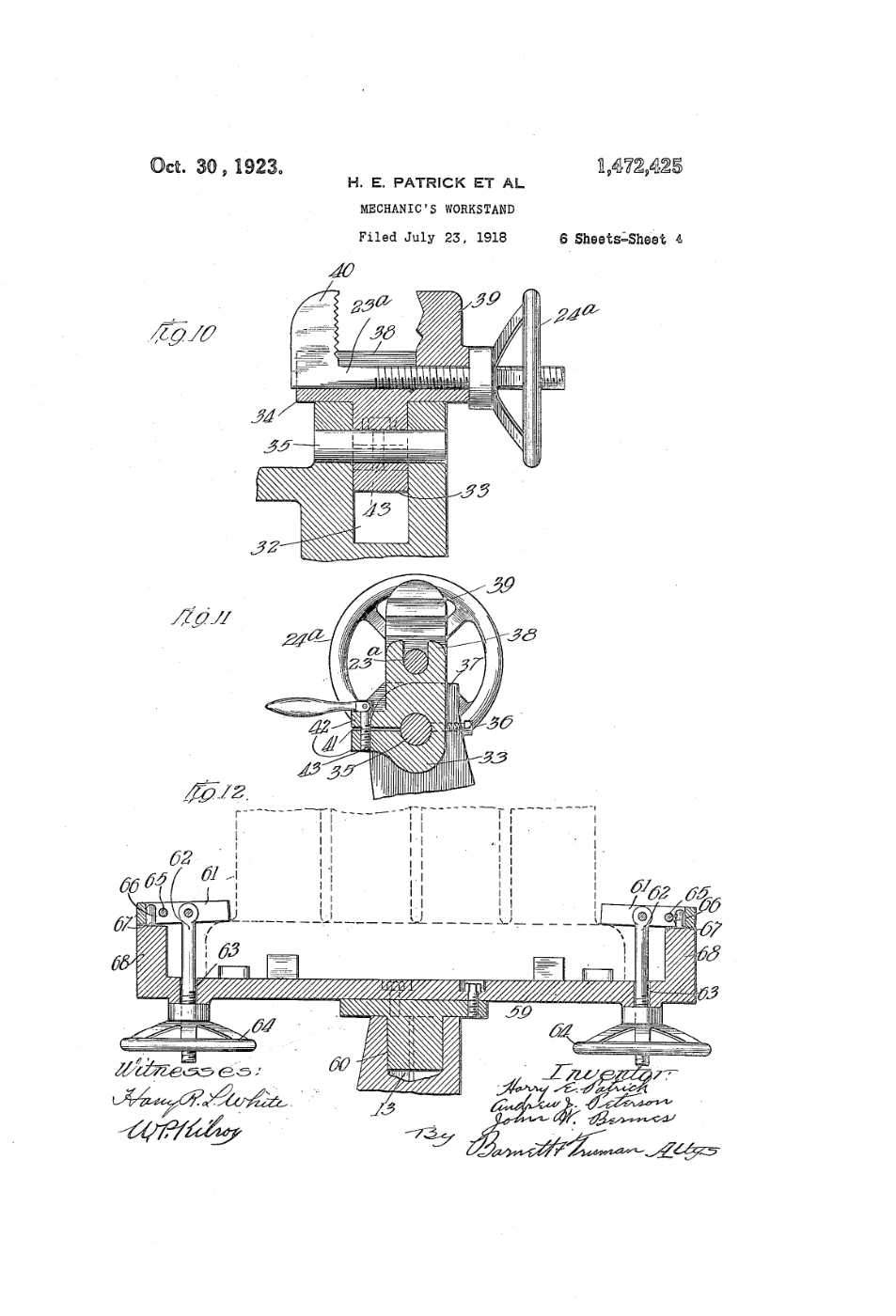
Here is the patent. https://patents.google.com/patent/US147 ... y:19100101
-
namdc3
Topic author - Posts: 402
- Joined: Sun Jan 06, 2019 4:15 pm
- First Name: Nikolaus
- Last Name: Martin
- Location: Kansas City
- MTFCA Life Member: YES
Re: DIXIE Axle Rebuild Stand
To the top
-
namdc3
Topic author - Posts: 402
- Joined: Sun Jan 06, 2019 4:15 pm
- First Name: Nikolaus
- Last Name: Martin
- Location: Kansas City
- MTFCA Life Member: YES
Re: DIXIE Axle Rebuild Stand
I'm going to push this to the top further away from Hershey dates and see if there is anyone out there with this info. Thanks!
-
Dan Hatch
- Posts: 5526
- Joined: Tue Jan 08, 2019 7:31 pm
- First Name: Dan
- Last Name: Hatch
- Location: Alabama
Re: DIXIE Axle Rebuild Stand
I got one, but this why I haven’t gotten you the dimensions.
Got to clean it off first
As soon as I can find time. Dan
Got to clean it off first
As soon as I can find time. Dan
-
Pep C Strebeck
- Posts: 641
- Joined: Sun Jan 06, 2019 11:12 am
- First Name: Joseph
- Last Name: M
- Location: MI
Re: DIXIE Axle Rebuild Stand
Dan, it is known both as FSS and HSS, Flat/Horizontal Surface Syndrome, the inability to leave a clear, flat surface unencumbered
"Remember son, there are two ways to do this: The right way, and your way” Thanks Dad, I love you too.
LOOKING FOR A LUFKIN No. 9A Height Gage Attachment.
LOOKING FOR A LUFKIN No. 9A Height Gage Attachment.
-
WorldChamp1914
- Posts: 420
- Joined: Mon Jan 28, 2019 2:00 am
- First Name: Gary
- Last Name: Hagen
- * REQUIRED* Type and Year of Model Ts owned: 1914 Touring and a 1921 Sightseeing Bus.See SF On a Dime
- Location: San Jose
- MTFCA Life Member: YES
Re: DIXIE Axle Rebuild Stand
I own one….Need some pics? Send me an email
-
namdc3
Topic author - Posts: 402
- Joined: Sun Jan 06, 2019 4:15 pm
- First Name: Nikolaus
- Last Name: Martin
- Location: Kansas City
- MTFCA Life Member: YES
Re: DIXIE Axle Rebuild Stand
Thanks! I sent you an email.